Zum Hauptinhalt springen

Biegoletto

Orthopädische Einrichtung mit aktiver vertikaler Kopplung und Schwungpendel

Methode nach Dr. med. Dieter C. Göbel, Orthopäde, München


Auszug aus der Gebrauchsmusterschrift (Aktenzeichen: 20 2014 103 793.4):

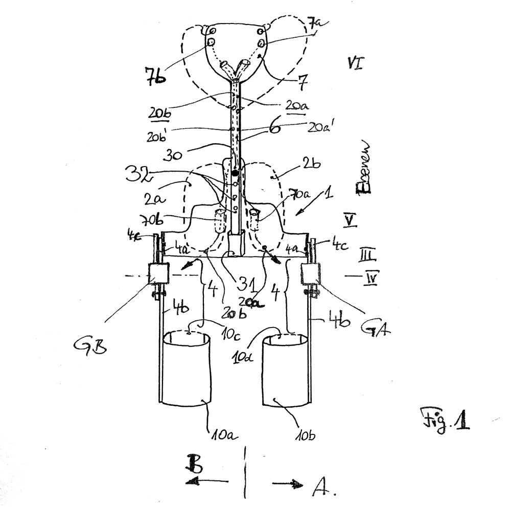
(57) Hauptanspruch: Orthopädische Einrichtung zur Beeinflussung einer Krümmung und/oder Verwindung der menschlichen Wirbelsäule mit ...

  • einer Beckenklammer (1) zur Anlage an die menschliche Hüfte oder das menschliche Becken;
  • einer federnden Stützschiene (6) mit einem oberen Ende, das ein Stützkissen (7) trägt zur Anlage zwischen den Schulterblättern;
  • je einer Verbindungsschiene (4a, 4b) in Richtung zum menschlichen Oberschenkel, die an der Beckenklammer (1) angeordnet sind;
  • einer Kopplung von Bändern oder Zügeln (20a, 20b), dievon einer der Verbindungsschienen (4a, 4b) zu dem Stützkissen (7) reichen und entlang ihrer Längserstreckung je einelastisches Element oder einen elastischen Abschnitt (20a',20b') aufweisen;
  • so dass eine Vorwärtsbewegung jeder der Verbindungsschienen (4a, 4b) zu einer Torsion des Stützkissens (7) relativ zu der Stützschiene (6) führt
Wir benutzen Cookies

Wir nutzen Cookies auf unserer Website. Einige von ihnen sind essenziell für den Betrieb der Seite, während andere uns helfen, diese Website und die Nutzererfahrung zu verbessern (Tracking Cookies). Sie können selbst entscheiden, ob Sie die Cookies zulassen möchten. Bitte beachten Sie, dass bei einer Ablehnung womöglich nicht mehr alle Funktionalitäten der Seite zur Verfügung stehen.